


木屑顆粒機,鋸末顆粒機,秸稈顆粒機,稻殼顆粒機

現有生物質顆粒生產系統主要包括以下裝置:破碎、粉碎、烘干、輸送、制粒、冷卻、貯存裝置,實際上根據客戶的原料的不同而選擇分系統,現有的大型生物質成型顆粒機各分系統是單獨的、分開的,系統復雜,各環節難以匹配。
大型生物質成型顆粒機,各環節匹配,自動化程度高,減少人工且降低了成本。
大型生物質成型顆粒機解決技術問題所采用的技術方案是: 濕料堆積區和干料堆積區均通過切片機和粉碎機分別與濕料輸送裝置及干料輸送裝置相連,濕料輸送裝置通過烘干及輸送系統和風機與烘干料倉相連,烘干料倉、干料輸送裝置與干料料倉相連通,干料料倉分別與回收密室及粉料提升皮帶相連通,粉料提升皮帶與分料系統相連,分料系統與分料倉平臺相連,分料倉平臺與喂料裝置相連,喂料裝置通過成品冷卻抽風裝置、成品輸送裝置與滾筒分級篩相連,滾筒分級篩通過提升輸送系統與顆粒成品倉及打包系統相連。大型生物質成型顆粒機濕料輸送裝置旁設有烘干爐。
大型生物質成型顆粒機的優點是:先將放在濕料堆積區和干料堆積區的原料放入切片機和粉碎機進行切片和粉碎,然后根據干濕不同分別將濕料送入烘干料倉進行烘干處理,干料則直接輸送到干料料倉,經過烘干后的濕料再送入干料料倉,經過篩選后,無法使用的物料,送入回收密室,能夠使用的粉料通過粉料提升皮帶送入分料系統,再由分料系統送入喂料裝置并送入成品冷卻抽風裝置進行抽熱冷卻,處理完畢后的物料再通過滾筒分級篩進行篩選,通過提升輸送系統送入顆粒成品倉進行打包儲藏,具有系統簡單,各環節匹配,自動化程度高,減少人工且降低了成本的特點。
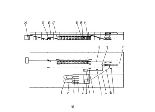
大型生物質成型顆粒機結構示意圖:

圖中:1一濕料堆積區,2一干料堆積區,3一切片機,4一粉碎機,5一濕料輸送裝置,6一干料輸送裝置,7一烘干爐,8一烘干及輸送系統,9一風機,10一烘干料倉,11一干料輸送裝置,12一干料料倉,13一回收密室,14一分料系統,15一分料倉平臺,16一喂料裝置,17一成品冷卻抽風裝置,18一成品輸送裝置,19一滾筒分級篩,20一粒成品倉及打包系統。
參見圖1,大型生物質成型顆粒機,包括濕料堆積區1和干料堆積區,濕料堆積區1和干料堆積區均通過切片機和粉碎機分別與濕料輸送裝置及干料輸送裝置相連,在濕料輸送裝置旁設有烘干爐,濕料輸送裝置通過烘干及輸送系統和風機與烘干料倉相連,烘干料倉、干料輸送裝置與干料料倉相連通,干料料倉分別與回收密室及粉料提升皮帶相連通,粉料提升皮帶與分料系統相連,分料系統與分料倉平臺相連,分料倉平臺與喂料裝置相連,喂料裝置通過成品冷卻抽風裝置、成品輸送裝置與滾筒分級篩相連,滾筒分級篩通過提升輸送系統與顆粒成品倉及打包系統相連。
生物質顆粒燃料是什么?生物質顆粒燃料的用途有哪些?下面豫暉新能源給大家簡單介紹一下:
生物質顆粒燃料是將廢棄農作物(玉米秸稈、小麥秸稈、棉花稈、稻草、花生殼、玉米芯、樹枝、樹葉、鋸末)再生利用,經過粉碎,烘干,壓縮加工之后制成各種成型(如塊狀、顆粒狀等)的,可直接燃燒的一種新型清潔燃料。生物質顆粒燃料的熱值與煤及其接近,是一種取之不盡,用之不竭取代燃煤經濟的清潔能源,越來越受到人們的青睞。
生物質顆粒燃料的用途有哪些呢?
生物質顆粒燃料的熱值高、灰分低、能效高、無污染,這些優點讓它的使用用途十分廣泛,在很多的行業都能看到它的身影。其用途主要體現在以下三個方面:
1、民用取暖和生活用能:生物質顆粒燃料的燃燒利用率高,便于儲存,便于使用,安全衛生。
2、生物質工業鍋爐:作為工業鍋爐的主要燃料,可替代煤炭、重油和天然氣解決環境污染。
3、發電:可作為火力發電的燃料。每燃燒1萬噸生物質顆粒燃料可替代標準煤0.8萬噸,減少SO2排放。
相信不久的將來,生物質顆粒燃料將會應用到更廣的領域,為低碳節能提供一個有效的解決方案。
| 聯系我們 |
| 如果您有任何問題請聯系我們! |
| 地址:鄭州市西四環與化工路交匯處向西1千米 電話:0371-55018888 傳真:0371-55611668 |

|
河南豫暉烘干設備廠家 版權所有 豫ICP備10209222號-2 營業執照 聯系電話:0371-55018888 傳真:0371-55611668 手機:13803857310(白經理) 郵箱:hnyhjx888@163.com |
![]() |